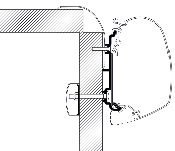
Dach-Montage-Adapter für Reisemobile und Wohnwagen, Frankia

248,00 419,00 

Artikelnummer: VAR00363 Marke: GTIN: 5415182058131
Artikel-Nr.: 430602 430601 430604 430603 430606 430605
Länge 400 cm 350 cm 500 cm 450 cm 600 cm 550 cm
Fahrzeugtyp Frankia Frankia Frankia Frankia Frankia Frankia

Hier finden Sie zusätzliche Informationen zum Produkt wie Bedienungsanleitungen, Links zu Zubehör & Ersatzteilen

DOWNLOADS:

Zubehör:

Ersatzteile:

Thule NV
Kortrijkstraat 343
8930 Menen
BE
infoRV@thule.com
http://www.thule.com